深入理解Arduino ATmega328

ATmega328P是基于AVR增强型RISC结构的低功耗8位CMOS微控制器。由于其单时钟周期指令执行时间,ATmega328P的数据吞吐率高达1MIPS/MHz,从而可以缓减系统在功耗和处理速度之间的矛盾。
ATmega328P是基于AVR增强型RISC结构的低功耗8位CMOS微控制器。由于其单时钟周期指令执行时间,ATmega328P的数据吞吐率高达1MIPS/MHz,从而可以缓减系统在功耗和处理速度之间的矛盾。
深入理解Arduino ATmega328

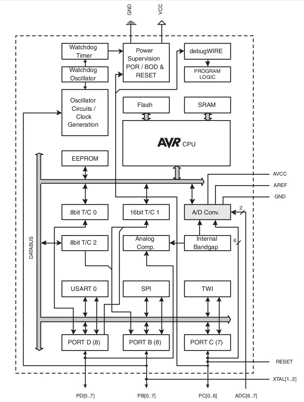
ATmega328结构框图

AVR 内核具有丰富的指令集和 32 个通用工作寄存器。所有的寄存器都直接与算术逻辑单元 (ALU) 相连接,使得一条指令可以在一个时钟周期内同时访问两个独立的寄存器。这种结构大大提高了代码效率,并且具有比普通的 CISC 微控制器最高至 10 倍的数据吞吐率。

ATmega328有如下特点: 32K字节的系统内可编程Flash(具有在编程过程中还可以读的能力,即 RWW), 1k 字节 EEPROM, 2K 字节 SRAM,23个通用 I/O 口线, 32 个通用工作寄存器,三个具有比较模式的灵活的定时器/计数器(T/C), 片内/外中断,可编程串行USART,面向字节的两线串行接口,一个SPI串行端口,一个 6 路 10 位 ADC (TQFP 与 MLF 封装的器件具有 8 路 10 位 ADC),具有片内振荡器的可编程看门狗定时器,以及五种可以通过软件选择的省电模式。空闲模式时 CPU 停止工作,而 SRAM、 T/C、 USART、两线串行接口、 SPI 端口以及中断系统继续工作;掉电模式时晶体振荡器停止振荡,所有功能除了中断和硬件复位之外都停止工作,寄存器的内容则一直保持;省电模式时异步定时器继续运行,以允许用户维持时间基准,器件的其他部分则处于睡眠状态; ADC 噪声抑制模式时 CPU 和所有的 I/O 模块停止运行,而异步定时器和 ADC 继续工作,以减少 ADC 转换时的开关噪声; Standby 模式时振荡器工作而其他部分睡眠,使得器件只消耗极少的电流,同时具有快速启动能力。
ATmega328是以Atmel的高密度非易失性内存技术生产的。片内 ISP Flash可以通过 SPI 接口、通用编程器,或引导程序进行多次编程。引导程序可以使用任意接口将应用程序来下载到应用 Flash 存储区。在更新应用 Flash 存储区时引导程序区的代码继续运行,从而实现了 FLASH 的 RWW 操作。 通过将 8 位 RISC CPU 与系统内可编程的 Flash集成在一个芯片内, ATmega328 为许多嵌入式控制应用提供了灵活而低成本的方案。
- 本文内容来自网络,如有侵权,请联系本站处理。

2022-11   阅读(1115)   评论(0)
 标签: 创客 Arduino

涨知识
LTE Cat.1

Cat.1技术是LTE(Long-Term Evolution)技术的一种调制及编码技术,可以提供相对较高的数据传输速率,同时又具有低功耗、低成本的特点,可以为物联网设备的连接提供更好的解决方案。

评论:
相关文章
Arduino-ESP32与ESP-IDF的版本对应表

Arduino-ESP32与ESP-IDF的版本对应表。


ESP32 + Arduino使用TFT_eSPI库

Arduino+ESP32上使用TFT_eSPI库快速点亮这个屏幕,驱动芯片ST7789


Arduino 数据结构: 队列Queue

Queue 库提供了一个通用的 C++ 动态队列实现,专为在 Arduino 项目中使用而定制。


小鹏浇花套件单机版程序V1.0.0

本程序是小鹏物联网智能浇花套件的单机版程序(不连接物联网),供同学们参考。


Arduino 数据结构: ArrayList

ArrayList 类是一个 C++ 模板类,它提供了 ArrayList 的实现,以便轻松存储任何指定类型的值。它允许使用索引进行高效存储和检索,支持排序操作。


ESP32 FreeRTOS 双核使用

ESP32系列(包括ESP32-S3)搭载Xtensa双核处理器,默认情况下Arduino框架仅使用单核运行用户代码,通过多核编程,可以充分利用硬件资源来提升系统响应和性能。


理解 MSBFIRST(最高有效位)和 LSBFIRST(最低有效位)

在本文中,先解释 MSB(最高有效位)和 LSB(最低有效位)的概念,以及 MSBFIRST 和 LSBFIRST。然后展示了 MSBFIRST 和 LSBFIRST 的使用如何影响移位寄存器的输出。


Arduino 和 TB6612FNG 驱动直流电机

TB6612是一款双路H桥型的直流电机驱动芯片,可以驱动两个直流电机并且控制其转速与方向,输入电压在3V~12V,因此在集成化、小型化的电机控制系统中,它可以作为理想的电机驱动器件。


Arduino-ESP32 Preferences库使用详解

Arduino-ESP32项目提供的Preferences库是一个专为ESP32设计的非易失性存储解决方案,它替代了传统的Arduino EEPROM库,提供了更强大、更可靠的数据存储功能。


Adafruit GFX图形库的使用

用于Arduino的Adafruit_GFX库为我们所有的LCD和OLED显示器提供了通用语法和图形功能集。这使Arduino程序可以轻松地在显示类型之间进行调整,而不必花太多精力……