特征
系统
• 高性能、低功耗多位 delta-sigma 音频 ADC 和 DAC
• I2S/PCM 主站或从站串行数据端口
• 256/384Fs、USB 12/24 MHz 和其他非标准音频系统时钟
• I2C 接口
模数转换器
• 24 位,8 至 96 kHz 采样频率
• 100 dB 信噪比,-93 dB THD+N
• 一对模拟输入,带差分输入选项
• 低噪声前置放大器
• 降噪滤波器
• 自动电平控制 (ALC) 和噪声门
• 支持模拟和数字麦克风
DAC接口
• 24 位,8 至 96 kHz 采样频率
• 110 dB 信噪比,-80 dB THD+N
• 一对模拟输出,带耳机驱动器和差分输出选项
• 动态范围压缩
• 噼啪声和咔嗒声抑制
低功耗
• 1.8V至3.3V工作电压
• 14 mW 播放和录制
• 低待机电流
应用
•汽车
•电话
•玩具
• 2路收音机
• 行车记录仪
• 网络摄像机
• 硬盘录像机、网络硬盘录像机
•监视
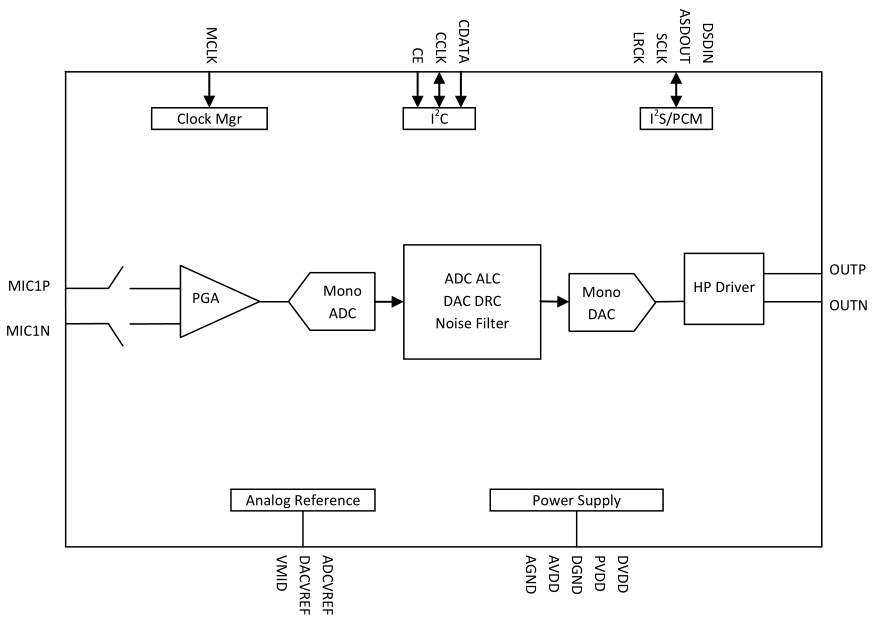
1. 框图
ES8311内部框图
2. 引脚排列和说明
ES8311引脚定义

3. 典型应用电路
ES8311典型应用电路图
为了获得最佳性能,去耦和滤波控制器应尽可能靠近器件封装
可以使用额外的副电容(通常为0.1 uF),更大值的电容(通常为10 uF)也会有所帮助
4. 时钟模式和采样频率
该设备支持标准音频时钟(64F、128Fs、256Fs、384Fs、512Fs等)、USB 时钟(12/24 MHz)和一些常见的非标准音频时钟(16 MHz、25 MHz、26 MHz等)。
根据串行音频数据采样频率(Fs),该设备可以工作在两种速度模式:单速模式或双倍速度模式。在单速模式下,Fs 的频率范围通常为 8 kHz 至 48 kHz,在双速模式下,Fs 的频率范围通常为 64 kHz 至 96 kHz。
该器件可以在主时钟模式或从时钟模式下工作。在从模式下,LRCK 和 SCLK 由外部提供,LRCK 和 SCLK 必须以特定速率同步从系统时钟派生。在主模式下,LRCK 和 SCLK 在内部派生自器件主时钟。
5. 单片机配置接口
该器件支持标准 I2C 微控制器配置接口。外部微控制器可以通过写入内部配置寄存器来完全配置器件。
I2C 接口是一种双向串行总线,它使用串行数据线 (CDATA) 和串行时钟线 (CCLK) 进行数据传输。图1a和图1b给出了该接口数据传输的时序图。数据以逐字节的方式同步传输到CDATA线路上的CCLK时钟。字节中的每个位都在CCLK高电平期间进行采样,首先传输MSB位。每个传输的字节后面都有一个来自接收器的确认位,用于将CDATA拉低。该接口的传输速率最高可达400 kbps。
主控制器通过发送“开始”信号来启动传输,该信号被定义为 CDATA 从高到低的转换,而 CCLK 为高电平。传输的第一个字节是从属地址。
它是一个 7 位芯片地址,后跟一个 RW 位。芯片地址必须是 0011 00x,其中 x 等于 CE。RW 位表示从机数据传输方向。一旦收到确认位,数据传输将开始按照 RW 位指定的方向逐字节进行。主机可以通过生成“停止”信号来终止通信,该信号定义为当CCLK为高电平时,CDATA从低到高的转换。
在 I2C 接口模式下,可以写入和读取寄存器。“write”和“read”指令的格式如表1和表2所示。请注意,要从寄存器读取数据,必须将 R/W 位设置为 0 以访问寄存器地址,然后将 R/W 设置为 1 以从寄存器读取数据。
表1 I2C接口模式下写入寄存器数据
|
芯片地址 |
读/写 |
|
寄存器地址 |
|
要写入的数据 |
|
|
| 开始 |
0011 00CE |
0 |
ACK |
内存 |
ACK |
数据 |
ACK |
停止 |
表2 在I2C接口模式下从寄存器读取数据
|
芯片地址 |
读/写 |
|
寄存器地址 |
|
|
| 开始 |
0011 00CE |
0 |
ACK |
内存 |
ACK |
|
|
芯片地址 |
读/写 |
|
要读取的数据 |
|
|
| 开始 |
0011 00CE |
1 |
ACK |
数据 |
NACK |
停止 |
|
6. 数字音频接口
该器件通过LRCK、SCLK和DSDIN或ASDOUT引脚为DAC的输入或ADC的输出提供多种格式的串行音频数据接口。这些格式包括 I2S、左对齐、右对齐和 DSP/PCM。DAC输入DSDIN由位于SCLK上升沿的器件进行采样。ADC数据在SCLK下降沿的ASDOUT中丢失。SDATA(DSIN/ASDOUT)、SCLK 和 LRCK 与这些格式的关系通过图 2a 到图 2d 显示出来。
7. 电气特性
绝对最大额定值
在这些条件下或超过这些条件的连续操作可能会永久损坏设备。
| 参数 |
最小值 |
最大值 |
| 模拟电源电压电平 |
-0.3V |
+3.6伏 |
推荐操作条件
| 参数 |
最小值 |
典型值 |
最大值 |
单位 |
| DVDD |
1.6 |
3.3 |
3.6 |
V |
| PVDD |
1.6 |
3.3 |
3.6 |
V |
| AVDD |
1.7 |
3.3 3 |
.6 |
V |